Когда дело доходит до связи между громоздкой конструкцией и фундаментом, на сцену выходят они — анкерные болты. Это не просто «винтики». Это страховочный трос, который удерживает на месте целые заводские цеха, мостовые фермы и каркасы небоскрёбов. Представьте: многотонная колонна должна стоять не просто «на» бетоне, а быть с ним единым целым. Вот для чего нужны анкеры. Ошибка в их выборе или установке — это не мелкий косяк, а прямая дорога к катастрофе.
Выбрать анкер — это как назначить лекарство. Нужен точный диагноз: какой фундамент (бетон, кирпич, камень), какие нагрузки (статичные, динамичные, вибрационные), какие условия (влажность, агрессивная среда). Диаметр, длина, материал, тип крепления — каждый параметр критичен. Просто взять «потяжелее» — не сработает. Нужно соответствие проекту и нормам. Это вопрос не экономии, а безопасности.
Давайте разберёмся, какие бывают эти «стальные корни», как они работают и почему одни держат легкую лестницу, а другие — кран весом в сотни тонн. Это знание убережёт вас от фатальных ошибок, будь вы строитель, прораб или просто владелец дома, который хочет прикрутить к стене что-то серьёзное.
Три главных семейства анкеров: как они цепляются за бетон
| Вид анкера | Принцип работы | Где и зачем применять |
|---|---|---|
| Распорный (клиновой, забивной) | Классика жанра. Вы забиваете его в отверстие, а потом, закручивая гайку, вытягиваете конусную часть внутрь гильзы. Та распирается, вгрызаясь в бетон. Механическое, простое, очень надёжное крепление. | Для тяжёлых статических нагрузок: крепление колонн, станков, опор, металлоконструкций к монолитному бетону. Работает на срез и вырыв. |
| Химический (клеевой) | Тихая магия. В подготовленное отверстие заливаете или вставляете капсулу со специальной смолой, затем вкручиваете шпильку. Смола полимеризуется, создавая монолитную связь «болт-бетон». Анкер работает по всей длине. | Идеален для краевых зон, тонкостенных конструкций, пустотелого кирпича. Где распорный может расколоть материал. Выдерживает огромные вырывные нагрузки. Дорог, но незаменим в сложных случаях. |
| Самозажимной (пружинный, Molly) | Устройство для лёгких задач. При закручивании винта с обратной стороны листового материала (гипсокартон, тонкий металл) раскрываются «лапки», которые упираются в тыльную сторону. | Строго для лёгких конструкций внутри помещений: полки, карнизы, лёгкие шкафы на гипсокартоне. Не для фундаментов и не для ответственных несущих конструкций! |
Выбор — это всегда компромисс между стоимостью, скоростью монтажа и требованиями по нагрузке. Распорный — быстро и дёшево для простого бетона. Химический — дорого и долго, но для сложных условий и максимальной надёжности.
Где и какие анкеры «живут»
Фундаменты бывают разные, и подход к анкеровке тоже меняется. Это не универсальная запчасть.
Анкер — это переводчик между языком металла и языком камня. Он превращает точечное давление в распределённую нагрузку, которую бетон может выдержать.
Основные «амплуа» анкеров в строительстве:
- Фундаментные болты (шпильки). Звёзды первой величины. Длинные, мощные шпильки, которые закладываются в фундамент на этапе заливки бетона или устанавливаются потом (химически или в колодцы). Держат колонны, рамы, тяжёлое оборудование.
- Анкеры для кладки. Часто имеют специальную форму (рамные анкеры) для крепления обвязок, мауэрлатов, оконных и дверных коробок к кирпичным или блочным стенам.
- Потолочные анкеры. Для подвеса коммуникаций, вентканалов, подвесных потолков. Здесь важна защита от случайного вырывания.
- Химические капсулы и инъекционные составы. Это уже не просто болт, а система. Позволяет крепить в старый, потрескавшийся, пустотелый материал, где механический анкер бессилен.
Суть в том, что анкер должен быть не просто «крепким», а подходящим под конкретный материал основания. Что хорошо для монолитного бетона, убьёт газобетонный блок. Всегда смотрите на рекомендации производителя для вашего типа основания.
Из чего их делают? Не вся сталь одинакова
Материал определяет судьбу анкера: выдержит ли он мороз, сырость или химическую атаку.
Углеродистая сталь (обычная, оцинкованная)
Рабочая лошадка. Прочная, недорогая. Оцинковка защищает от ржавчины в нормальных условиях. Подходит для подавляющего большинства работ внутри отапливаемых помещений. Но для улицы, влажных помещений или агрессивных сред — рискованно.
Нержавеющая сталь (A2, A4)
Аристократ. A2 (кислотостойкая) выдерживает сырость, городской смог. A4 (морская) — для солёного морского воздуха, бассейнов, химических производств. В разы дороже, но если проект или условия требуют — выбора нет. Часто имеет меньшую прочность на разрыв, чем углеродистая сталь того же диаметра, но коррозия её не берёт.
О мифе про «пластиковые анкеры для фундамента»
Пластиковые дюбели — это не анкеры для несущих конструкций! Они для крепления лёгких предметов к стенам. В серьёзном фундаментном деле им не место. Упоминание их в одном ряду — распространённая ошибка.
Есть также анкеры из латуни или бронзы для специфических электротехнических задач (немагнитные), но это экзотика.
Вывод прост: для улицы, цоколя, ванной, бани, бассейна — только нержавейка. Для сухого отапливаемого помещения — можно оцинковку. Экономия на материале анкера — это бомба замедленного действия. Ржавчина съест его изнутри, и однажды крепление просто лопнет.
Размеры и формы: почему это важно
«Просто болт» здесь не прокатит. Геометрия — это физика распределения нагрузки.
Форма тела и головки
- Шестигранная головка (под ключ). Стандарт. Даёт возможность сильно затянуть.
- Потайная (под внутренний шестигранник — имбус). Когда головка должна быть утоплена.
- Крюк, кольцо, проушина. Для подвеса тросов, цепей, навесного оборудования.
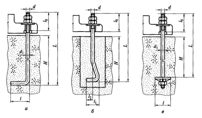
- Г-образная (анкерная лапка). Часто используется в фундаментных болтах для зацепления за арматурный каркас до заливки бетона.
Критичные размеры
- Диаметр (d). Основная характеристика, от которой зависит несущая способность. Измеряется в миллиметрах (М8, М12, М20 и т.д.).
- Длина заделки (L). Самая важная часть! Это та длина, которая должна сидеть в материале основания. Чем глубже, тем лучше держит. Минимум — 5-10 диаметров. Для ответственных конструкций рассчитывается инженером.
- Толщина прикрепляемого элемента. Плюс запас на шайбу и гайку. Общая длина анкера = толщина элемента + длина заделки + запас.
Частая ошибка: берут анкер «чтобы болт торчал на 5 см». В итоге его рабочая часть в бетоне — всего 2 см. Он вырывается под нагрузкой. Сначала считайте необходимую глубину заделки, потом — общую длину.
Резьба и головки: детали, которые решают всё
Мелочей в анкерах не бывает. Резьба — это не просто «чтобы гайка накрутилась».
Тип резьбы
- Метрическая резьба. Стандарт. Чёткий шаг, высокая точность. Используется в 95% случаев.
- Дюймовая резьба (UNC, UNF). Встречается на импортном оборудовании. Важно не перепутать! Гайка от метрического болта на дюймовую резьбу не накрутится как следует.
- Самовыравнивающаяся (SAL). Специальная резьба на некоторых химических анкерах, которая лучше распределяет клей по отверстию.
Тип головки
- Шестигранная головка (HEX). Под гаечный ключ. Максимальный момент затяжки.
- Головка под внутренний шестигранник (INBUS). Удобна в труднодоступных местах, выглядит аккуратнее.
- Анкер-шпилька (без головки). С резьбой с двух сторон. Одна сторона закрепляется в основании (химически или цементным раствором), на вторую накручивается гайка с шайбой.
При затяжке ключом должен быть хороший упор. Если головка слизывается или не даёт нормально затянуть — это брак или неправильно подобранный инструмент. Слабая затяжка = люфт и быстрый излом анкера от вибрации.
Способы крепления: механика vs химия
Как заставить сталь держаться в камне? Есть два философских подхода.
| Способ | Принцип действия | Когда и почему |
|---|---|---|
| Механический (распорный) | Сила трения и сопротивление материала смятию. Анкер распирает бетон изнутри, создавая огромное давление на стенки отверстия. | Быстро, дёшево, проверено. Для плотных, прочных оснований (тяжёлый бетон, натуральный камень). Требует точного диаметра и глубины отверстия. Не любит краёв и тонких стенок. |
| Химический (клеевой) | Адгезия (прилипание) клеящего состава и к бетону, и к металлу. Нагрузка распределяется по всей длине анкера, а не точечно. | Для проблемных оснований: пустотелый кирпич, газобетон, края бетона, старый растрескавшийся материал. Даёт самую высокую прочность на вырыв. Дороже и дольше (нужно ждать полимеризации клея). |
| Комбинированный | Распорный анкер + клей. Механика обеспечивает начальную фиксацию, химия — долговременную прочность и герметизацию от влаги. | Для ответственных объектов в сложных условиях, где нужна максимальная гарантия. Например, анкеровка в сейсмоопасных зонах или для конструкций с динамическими нагрузками. |
Сколько он сможет выдержать? Пределы прочности
Анкер — не вечный. Его ресурс определяют:
- Материал и диаметр. Очевидно: болт М20 прочнее М10. Предел прочности на растяжение (например, 8.8, 10.9, 12.9) указан на головке.
- Качество бетона. Анкер может быть хоть титановым, но если он сидит в рыхлом растворе, он вырвет с куском основания. Прочность бетона на сжатие (B15, B25, B35) — ключевой параметр для расчётов.
- Глубина заделки и расстояние до края. Чем глубже и дальше от края — тем лучше. Существуют минимальные расстояния, которые нельзя нарушать.
- Коррозия. Тихий убийца. Ржавеющий анкер теряет сечение и становится хрупким. В один «прекрасный» день лопается.
Долговечность — это не только прочность стали, но и прочность системы «анкер-основание». Правильно установленный качественный анкер в хорошем бетоне простоит столько же, сколько и само здание. Ошибка в любом звене цепи сокращает этот срок в разы.
Технические характеристики: что смотреть в паспорте
При выборе анкера для проекта вы будете оперировать цифрами. Вот главные из них:
Основные параметры
- Номинальный диаметр (d). Например, М12.
- Расчётная глубина заделки (hef). Минимальная глубина, на которую нужно погрузить анкер для достижения заявленной прочности.
- Максимальный крутящий момент (Mmax). С каким усилием его можно затягивать, не разрушая.
Прочностные характеристики (самое важное!)
- Предельная нагрузка на вырыв (NRd). Сила, которая выдергивает анкер прямо из основания. Указывается для конкретного бетона (например, для B25).
- Предельная нагрузка на срез (VRd). Сила, которая пытается «срезать» анкер поперёк.
- Эти значения ДОЛЖНЫ быть подтверждены сертификатами и испытаниями (ETAG, ETA). Без этого — просто железка с непонятными свойствами.
Никогда не выбирайте анкер «по красоте» или «по совету продавца». Только по расчёту проектировщика, основанному на этих технических характеристиках. Ваша безопасность в этих цифрах.
Нагрузки и напряжения: язык инженеров
Чтобы понять, выдержит ли анкер, нужно знать, что на него давит.
Виды нагрузок
- Статические. Постоянные, не меняющиеся во времени. Вес колонны, станка.
- Динамические (переменные). Меняются. Ветровые нагрузки на мачту, вибрация от двигателя.
- Ударные. Резкие, однократные. Например, удар груза о конструкцию.
Коэффициент запаса
Никто не нагружает анкер «впритык» до его предела. Всегда закладывается запас прочности (коэффициент). Для статики — 4-5, для динамики с вибрацией — 2-3, для ударных — 1.5-2. Это значит, что анкер с пределом вырыва 50 кН под статической нагрузкой можно нагружать только на 10-12.5 кН.
Самый опасный враг анкера — вибрация. Она вызывает усталость металла. Анкер, который спокойно держит 10 тонн статики, может лопнуть под 2 тоннами постоянной вибрации. Для таких случаев есть специальные виброустойчивые конструкции.
Как выбрать? Алгоритм для не-инженера
Если у вас нет проекта с расчётами, но нужно что-то надёжно прикрепить, следуйте логике:
1. Анализ задачи
Что крепим? (конструкция, её вес и тип нагрузки).
К чему крепим? (материал основания, его толщина и состояние).
В каких условиях? (улица/помещение, влажность, температура).
2. Выбор типа анкера
— Монолитный бетон/камень + тяжёлая нагрузка = Распорный анкер.
— Кирпич, газобетон, край бетона, максимальная надёжность = Химический анкер.
— Гипсокартон, тонкий металл, лёгкие предметы = Самозажимной дюбель. (Не для фундамента!)
3. Подбор размера
Ориентируйтесь на таблицы производителя. Для примера: чтобы закрепить металлическую стойку весом 200 кг к бетону, скорее всего, хватит распорного анкера М12х100. Но это очень грубая прикидка! Для всего серьёзного — нужен расчёт.
4. Выбор материала
Улица/сырость = нержавейка A4. Сухое помещение = оцинковка.
Когда сомневаетесь — берите более прочный вариант и консультируйтесь со специалистом. Перестраховка в анкеровке — единственно верная стратегия.
Монтаж: где любая ошибка — критична
Можно купить лучший анкер в мире и испортить всё его установкой. Вот как делать правильно:
| Этап | Как делать | Чем опасно нарушение |
|---|---|---|
| 1. Разметка и сверление | Сверлить строго перпендикулярно. Использовать бур соответствующего диаметра (часто равен диаметру анкера). Очистить отверстие от пыли щёткой и грушей/пылесосом. | Косое отверстие = неравномерное распределение нагрузки, анкер работает вполсилы. Пыль в отверстии = плохое сцепление, анкер легко выдёргивается. |
| 2. Установка (механический) | Вставить анкер до упора. Затягивать гайку динамометрическим ключом с моментом, указанным производителем. Не перетягивать! | Недотяг = люфт и вибрация. Перетяг = сорванная резьба или разрушение бетона под распорной втулкой. |
| 3. Установка (химический) | Тщательно очистить и обезжирить отверстие и анкер. Заполнить отверстие клеем на 2/3. Вращательными движениями ввести шпильку, чтобы клей распределился. Ждать полной полимеризации (время зависит от температуры). | Грязное отверстие/анкер = клей не прилипнет. Неполное заполнение = пустоты и слабое место. Нарушение времени выдержки = анкер выпадет под нагрузкой. |
Правило чистового отверстия: оно должно быть сухим и чистым. Никакой воды, масла, крошки. Это святое.
Как снять старый анкер? (Если очень нужно)
Иногда нужно демонтировать конструкцию. Анкер, особенно химический, вынуть сложно.
Подготовка
Оцените, нужен ли демонтаж. Часто проще срезать болт болгаркой заподлицо и рядом установить новый.
Механический анкер
Открутить гайку, сбить молотком внутрь (если есть зазор), либо высверлить сверлом по металлу (трудоёмко).
Химический анкер
Высверлить вместе с клеем твёрдосплавным буром. Это долго и тяжело. Иногда проще выдолбить бетон вокруг.
Обработка места
После демонтажа отверстие нужно расчистить, при необходимости заделать ремонтным составом, и только потом ставить новый анкер в другом месте.
Демонтаж — это всегда крайняя мера. Часто он повреждает основание сильнее, чем установка нового анкера рядом. Планируйте точки крепления с учётом возможного будущего переоборудования.
Техника безопасности: это не шутки
Работа с анкерами связана со сверлением на высоте, ударными нагрузками и использованием химии.
Обязательный минимум:
— Защита глаз и органов дыхания. При сверлении бетона — респиратор и очки. Химические составы могут вызывать аллергию, работать только в перчатках и проветриваемом помещении.
— Проверка на скрытые коммуникации. Перед сверлением в любой стене/потолке/полу нужно убедиться, что там нет электропроводки, труб отопления или водоснабжения.
— Надёжное крепление лестниц/лесов. Падение с высоты — основная причина травм.
— Использование исправного инструмента. Трещина в буре может привести к его заклиниванию и травме.
Помните: вы имеете дело с силами в сотни килограммов и тысячами ньютонов. Если что-то пойдёт не так при нагрузке, это будет внезапно, громко и с разрушительными последствиями. Не рискуйте.
Контроль качества: доверяй, но проверяй
Как убедиться, что установленные анкеры держат? Для ответственных объектов проводятся испытания.
Визуальный контроль
Проверить маркировку, отсутствие коррозии, правильность и полноту установки (анкер затянут, шайба на месте).
Контроль затяжки
Динамометрическим ключом проверяется момент затяжки уже установленных анкеров (выборочно или все).
Натурные испытания (самые важные)
На объекте выборочно (обычно 1-2% от общего количества, но не менее 3 штук) анкеры нагружают пробной нагрузкой (обычно 1.3-1.5 от расчётной) и контролируют, не было ли просадки или вырыва. Это делается специальным гидравлическим оборудованием.
Документация
На все анкеры должен быть сертификат завода-изготовителя. Результаты испытаний (если проводились) заносятся в акт скрытых работ. Это ваша страховка.
Для дома или дачи вы вряд ли будете делать испытания. Но вы можете купить анкеры известного бренда с сертификатом и строго следовать инструкции по монтажу. Это уже 90% успеха.
