Вы когда-нибудь задумывались, как в современных системах отопления и водоснабжения удаётся так точно поддерживать температуру? Секрет часто кроется в небольшом, но умном устройстве — трёхходовом клапане. Его также называют термоклапаном или термовентилем, и это настоящий «дирижёр» потоков в ваших трубах.
В промышленности такие клапаны задают температуру, давление или пропорции смешивания жидкостей и газов. А в быту? Здесь они становятся нашими верными помощниками для тонкой настройки комфорта. По сути, это интеллектуальный смеситель, который, например, подмешивает холодную воду к горячей, чтобы на выходе получить воду идеальной температуры.
Интересно, что этот неприметный узел может кардинально повысить эффективность и безопасность всей системы. Давайте разберёмся, как он устроен и где именно ему находится применение.
Принцип работы клапана
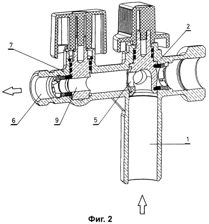
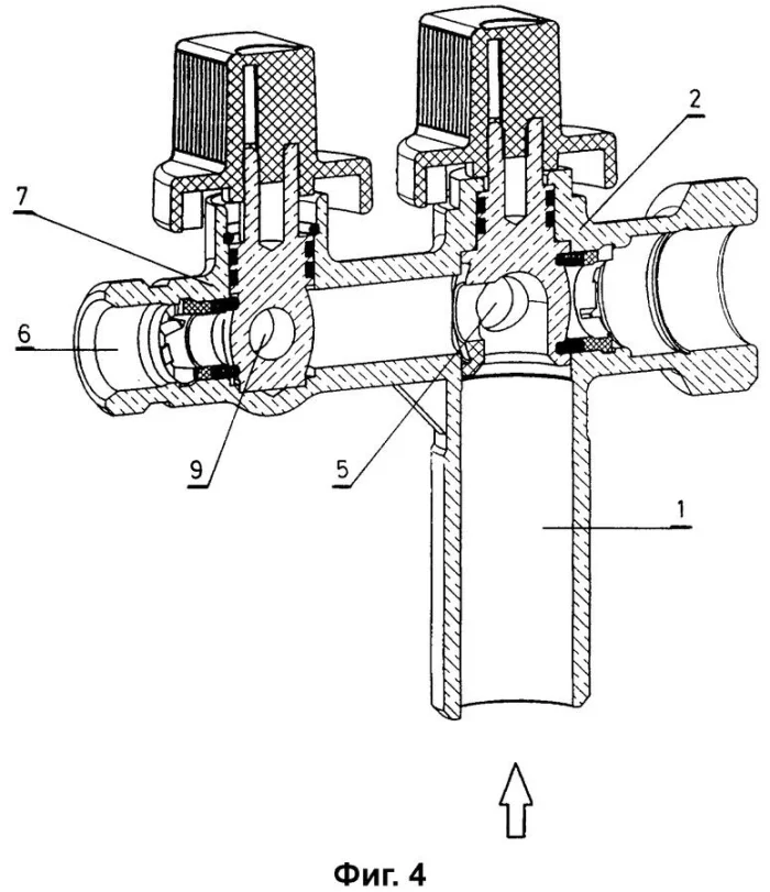
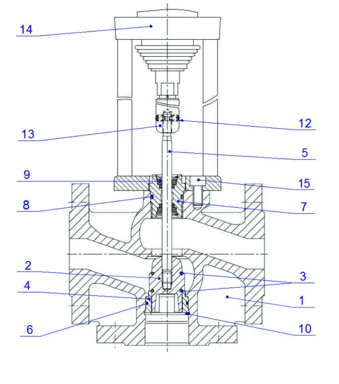
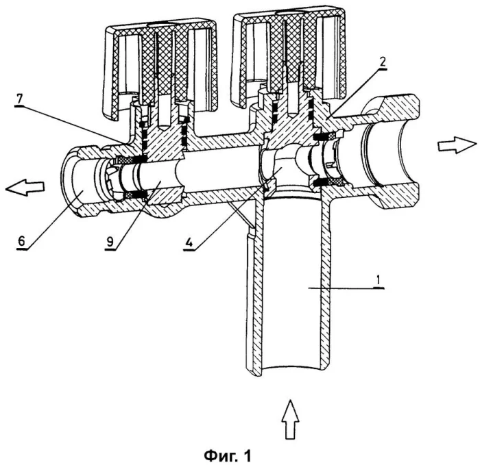
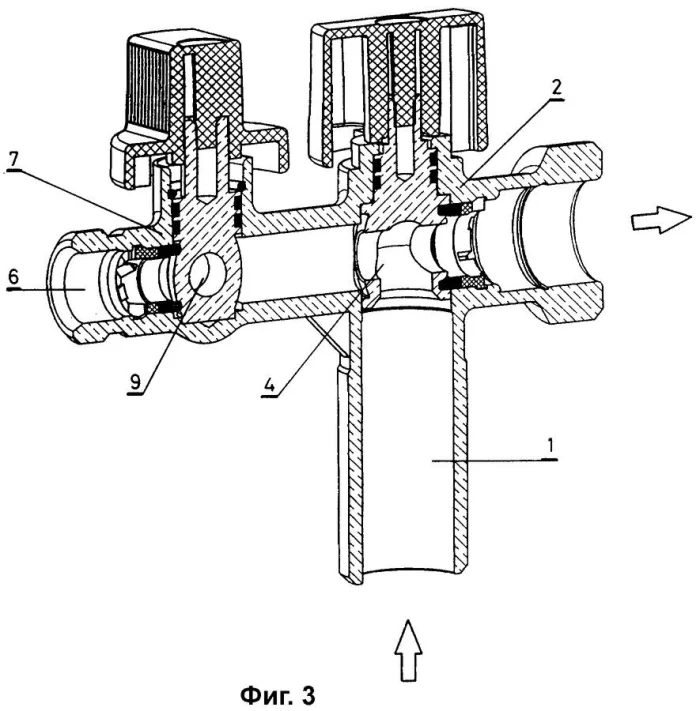
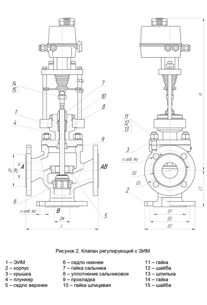
В домашних системах используется исключительно смесительный тип клапана. У него два входа (для горячего и холодного потока) и один общий выход. Внутри, под корпусом, скрывается подвижный шток с золотником. Регулируя его положение, мы изменяем пропорцию, в которой смешиваются два потока.
Важный момент: клапан регулирует именно температуру, а не давление в системе. Он плавно дозирует потоки, почти не влияя на напор. Это ключевое отличие от простого запорного вентиля.
Особенности конструкции
Основа — прочный литой корпус (часто из латуни или нержавейки) с тремя патрубками. Внутри — тот самый шток с золотником. А вот «мозгами» системы может быть разное устройство:
- Ручная головка. Всё просто: крутите вентиль — меняете температуру. Дёшево и сердито, но без автоматики.
- Термоголовка. Биметаллический или жидкостный элемент сам двигает шток в зависимости от температуры окружающего воздуха.
- Сервопривод с контроллером. Самый продвинутый вариант. Электропривод получает сигнал от выносного датчика температуры и с хирургической точностью устанавливает нужное положение штока.
Именно последний тип позволяет интегрировать клапан в систему «умного дома» и добиться идеального климата в каждом помещении.
Где используются трехходовой клапан
Области применения в частном доме или квартире довольно конкретны:
- В коллекторных группах тёплого пола — для защиты петель от перегрева.
- На радиаторах отопления — для индивидуальной регулировки температуры в комнате.
- В разводке горячего водоснабжения (ГВС) — для стабилизации температуры на выходе из крана.
- В обвязке твердотопливных котлов — для защиты теплообменника от теплового удара.
Зачем нужен трехходовой клапан
Давайте разложим по полочкам, какие проблемы он решает:
- Индивидуальный климат-контроль. Установленный на радиатор или группу батарей в одной комнате, клапан позволяет задать свою температуру, независимо от других помещений.
- Защита тёплого пола. Из котла идёт вода температурой 70-90°C, а в петли пола нужно не более 40-45°C. Клапан подмешивает в горячий поток остывшую воду из обратки, обеспечивая безопасный и комфортный нагрев.
- Комфортное ГВС. Установленный перед смесителем, он избавит от неприятных сюрпризов в виде ледяного или обжигающего душа. Температура будет постоянной.
- Защита котла. Это, пожалуй, самое важное. При растопке твердотопливного котла в его раскалённый теплообменник может хлынуть холодная вода из обратки. Результат — трещина и дорогой ремонт. Трёхходовой клапан, установленный на байпасе, подмешивает горячую воду из подачи в обратку, не допуская опасного перепада.
Виды трехходовых клапанов
Все бытовые клапаны — смесительные. Разделительные (которые один поток делят на два) в домах практически не встречаются. А вот по типу управления выбор есть.
- Ручные. Управляются вентилем. Температуру выставляете «на глазок». Плюсы: низкая цена, надёжность, независимость от электричества. Минусы: нет автоматики, регулировка неточная и требует вашего постоянного участия.
- Автоматические. Управляются термоголовкой или сервоприводом. Поддерживают заданную температуру без вашего вмешательства. Дороже, но эффективнее и комфортнее.
Какой выбрать? Всё зависит от задачи. Для простого радиатора в гостевой комнате сгодится и ручной. А вот для узла подмеса тёплого пола или защиты дорогого котла — только автоматический с точной электроникой. Ставить «ручник» в ответственный узел — всё равно что использовать свечу для навигации в океане: дёшево, но ненадёжно и опасно.
Автоматический клапан с датчиком постоянно «щупает» температуру на выходе и мгновенно корректирует положение штока, обеспечивая стабильный результат.
Как выбрать трехходовой клапан
Здесь нельзя действовать наугад. Ключевые параметры:
- Пропускная способность (Kvs). Измеряется в м³/ч. Должна соответствовать расчётному расходу теплоносителя в контуре. Берётся из проекта системы.
- Условный диаметр (DN). Должен совпадать с диаметром труб, к которым вы подключаетесь (чаще всего DN20 или DN25).
- Рабочий температурный диапазон. Убедитесь, что клапан рассчитан на температуры в вашей системе.
Для тёплого пола и обвязки котла все параметры должен рассчитать инженер-проектировщик. Самостоятельная «прикидка» может привести к неработоспособности системы или поломке.
С радиаторами проще: ищем клапан с маркировкой «радиаторный» и подходящим диаметром резьбы (обычно 1/2" или 3/4").
Схема установки трехходового клапана
Важное правило: установка клапана на радиатор всегда требует наличия байпаса — перемычки между подачей и обраткой. Если его нет, придётся врезать. Без байпаса регулировка одного радиатора парализует всю стояковую систему.
Перед самим клапаном обязательно ставится шаровой кран. Запомните: трёхходовой клапан — регулирующая, а не запорная арматура. Перекрывать систему нужно отдельным краном.
Краткий алгоритм установки на радиатор:
- Слейте воду из системы.
- Вкрутите клапан в верхний вход радиатора (по направлению потока, указанному стрелкой на корпусе). Термоголовка должна располагаться горизонтально.
- Второй вход клапана (для обратки) соедините с байпасом.
- Перед клапаном на подаче установите шаровой кран.
- На обратке, до точки подключения байпаса, тоже поставьте кран.
- Заполните систему, стравите воздух и проведите пробную настройку термоголовки.
И помните: этот маленький регулятор — не панацея, а инструмент. Грамотно подобранный и правильно установленный, он сделает ваш дом теплее, безопаснее и комфортнее. А ошибки в выборе или монтаже могут создать больше проблем, чем решить.
